مانع الاندفاع السطحي
مانع الاندفاع السطحي أو مانع الإنفجار السطحي blowout preventer، هي صمامات ضخمة تستخدم للسيطرة على الآبار أثناء عمليات الحفر أو حتى عمليات الآبار المختلفة.
تركب هذه الصمامات على فوهة البئر ويتم أغلاقها عند حدوث مشكلة خروج للغاز، تقوم هذه الصمامات بإغلاق مسار الغازات في الفراغ بين مواسير الحفر وبين أنابيب التغليف كما أن لها إمكانية اغلاق هذا الفراغ على العديد من أنواع ومقاسات المواسير المستخدمة (حفر - تغليف - أنابيب مرنة) وحتى غلق البئر المفتوحة بدون مواسير.[1]
تسمح موانع الإنفجار بعزل البئر والدخول اليه بطريقة محكمة للسيطرة على الضغوط الموجودة داخله. ويعتبر وجود موانع الإنفجار من الشروط الأساسية في أجهزة الحفر.
الاستخدامات
الاستخدامات الرئيسية لموانع الإنفجار:
- Confine well fluid to the wellbore;
- Provide means to add fluid to the wellbore;
- Allow controlled volumes of fluid to be withdrawn from the wellbore.
الأنواع
تنقسم موانع الإنفجار إلى نوعين رئيسين، مانع الإنفجار الحلقي ومانع الإنفجار المكبسي. يتم جمع النوعين أثناء عمليات الحفر لضمان أكبر قدر من الأمان ويسمى هذا التركيب ببرج مانع الإنفجار. يركب برج مانع الإنفجار تحت منصة الحفر في أجهزة الحفر البريه والبحريه ولكن في أعمال الحفر في المياه العميقه يتم تركيب برج مانع الإنفجار تحت سطح الماء ويتم التحكم فيه بطريقه أوتوماتيكيه من السطح.
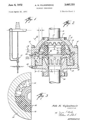
مانع الإنفجار الحلقي
اكتسب هذا الإسم من شكل مانع التسرب الموجود بداخله على شكل حلقه. يتكون مانع التسرب في هذا النوع من كتله حلقيه من الكاوتش المسلح بقضبان خارجيه من الصلب تلتف على المحيط الداخلى لمانع الإنفجار. يوجد تحت هذه الكتله مكبس يعمل بضغط الزيت الهيدروليكي يقوم عند تشغيله بالضغط على الحلقه الكاوتش ليجبرها على التمدد وسد فراغ فتحة البئر حول المواسير.
المميزات
1-يحكم فتحة البئر بغض النظر عن مقاس الماسورة داخل فتحة البئر.
2-تصميم قوى ولا يحتاج الى الكثير من الصيانة.
3- حجم صغير يتيح استخدامه مع العديد من أجهزة الحفر.
العيوب
1- كلما قل مقاس الماسوره داخل البئر كلما قل احكامه حولها.
2-مرحله واحده فقط من مانع التسريب فعند فشلها في العمل يفشل مانع التسريب ككل.
مانع الإنفجار المكبسي
يتكون من مكبسين يتحركان حركه معاكسه عرضيه لمنع لإحكام التسريب حول انابيب الحفر او حتى قطعها إذا لزم الأمر عند تشغيل مانع الإنفجار المكبسي يوجه ضغط الزيت الهيدروليكى لتشغيل زراع هيدروليكيه تقوم بتحريك ال ram في اتجاه ماسورة الحفر حيث يغلق كلا منهما حول الماسوره من خلال حشو كاوتش يتخذ نفس قياس ماسورة الحفر
التركيب الداخلي
يستخدم مانع الإنفجار في تركيبه تتكون عادة من ثلاث وحدات وهي:
1- pipe ram ويستخدم لإحكام التسريب حول انابيب الحفر.
2-blind ram ويستخدم لإغلاق فتحة البئر التى لا يوجد بها اى انابيب حفر.
3-shear ram ويستخدم للقطع خلال اى مواسير داخل البئر في حالة الطوارئ.
المميزات
1- أحكام جيد لفتحة البئر.
2- تعدد مراحله مما يوفر أقصى أمان.
3- أمكانية تشغيله يدوياً في حالة فشل التشغيل الهيدروليكي.
العيوب
1- يجب تغير مقاس الجهاز مع تغير قياس ماسورة الحفر.
2- يحتاج الى أعمال صيانه ومتابعة كثيرة.
3- تعدد وحدات الجهاز يؤدى الى كبر حجمه حيث يتعدى طوله ال30 متر في حالة الحفر البحرى الغاطس.
طرق التحكم
موانع الإنفجار الأفقية في المياه العميقة

انظر أيضاً
المصادر
- ^ "مانع الإنفجار". موقع بترولي. Retrieved 2012-11-12.
وصلات خارجية
- Blowout preventer: Definition from the Schlumberger glossary May 2010
- Blowout preventer: Definition from the US department of Labor, Occupational Safety & Health Administration (OSHA) May 2010
- http://www.osha.gov/SLTC/etools/oilandgas/drilling/wellcontrol.html
- http://www.asmenews.org/archives/backissues/july03/features/703oilwell.html
- Photograph of subsea BOP stack linked from Oil states Offshore Products