مقداح

المقداح thyristor، هو نبيطة تعمل كمفتاح كهربائي محكوم بإشارة كهربائية ضئيلة. يستعمل غالباً للتحكم في دارات التيار المتردد، حيث يمكنه العمل كمفتاح كهربائي أو كمقوم قدرة عند مستويات جهد كهربائي عليا دون أن يستهلك طاقة كبيرة أو يتسبب باحترار الدارة وكذلك لا يحتاج لعناصر تحريك. ومن أمثلة المقاديح الترياك. وصلة بي إن تعد هي حجر الأساس لكل النبايط. فالدايود يتكون من وصلة پي-إن واحدة، والمقحل يتكون من وصلتين اثنتين. المقداح بدوره يتكون من ثلاث وصلاث ثنائية أي يتكون من أربع طبقات پي-إن.
مقدمة
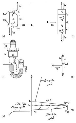
تطلق هذه التسمية على مجموعة من العناصر الإلكترونية المؤلفة من أربع طبقات نصف ناقلة ذات ناقلية ثقبية (طراز P) وناقلية إلكترونية (طراز n) تتوضع على التتالي (p-n-p-n) مشكِّلة فيما بينها ثلاث وصلات (n-p) على التسلسل (J1، J2، J3)، تمتلك هذه العناصر خاصة إعادة التوالد الداخلي أو التجديد regeneration تحت شروط انحياز محددة للجهد، ولها حالتا عمل مستقرتان: حالة القطع off state، وحالة الوصل on state. يتم الانتقال من حالة إلى أخرى بتأثير عوامل خارجية: الجهد الكهربائي بشكل رئيسي، وأحياناً السيالة الضوئية أو غير ذلك، حسب نوع الثايرستور.
تقنية العمل
تعمل هذه العناصر عمل القواطع وتمرر التيار الكهربائي باتجاه واحد، وتنقل استطاعات مختلفة القيم، من المنخفضة والمقدرة بالميلي واط، إلى العالية جداً والمقدرة بالميغاواط. تتحمل بعض أنواع الثايرستورات جهوداً كهربائية تقدر بالكيلوفولط، وتمرر تيارات تقدر بالكيلو أمبير. وتمتاز من غيرها من القواطع بالحجم الصغير والوثوقية العالية والضياعات البسيطة. ولا تتطلب تيار قاعدة (بوابة) دائم لإبقائها في حالة الوصل، كما في ترانزيستورات الاستطاعة، وذلك بسبب إعادة التوالد الداخلية. عند تطبيق جهد أمامي على الثايرستور (Uak)، موجب على المصعد وسالب على المهبط، تكون الوصلتان J1 وJ3 منحازتين أمامياً والوصلة J2 منحازة عكسياً ويرى في الثايرستور تيار تسريبي ضئيل القيمة. ويكون الثايرستور في حالة إغلاق أمامي forward blocking (حالة قطع). أما عند تطبيق جهد عكسي، سالب على المصعد وموجب على المهبط، فتكون الوصلتانJ1 وJ3 منحازتين عكسياً، ويسري عبر الثايرستور تيار تسريبي عكسي صغير القيمة، وتسمى هذه الحالة حالة الإغلاق العكسي reverse blocking، وعندما يصل الجهد العكسي إلى قيمة محددة ينهار الثايرستور، وتسمى هذه القيمة بجهد الانهيار العكسي (-Vrwm). [1]
خصائص التحويل
يتم انتقال الثايرستور إلى حالة الوصل بطرائق عدة:
- زيادة الجهد الأمامي حتى يتم التغلب على الجهد العكسي للوصلة J2، ويسمى هذا الجهد بجهد التشغيل الذي يقابله تيار التشغيل IBO (تيار القفز لحالة التوصيل brake over current).
- تطبيق جهد أمامي بين البوابة والمهبط يؤدي إلى مرور تيار بالبوابة IG، وذلك عند قيم ثابتة لجهد التغذية الأمامي Uak في الثايرستورات المتحكم بها.
- تطبيق نبضة ضوئية مقادة بوساطة ألياف ضوئية لمنطقة البوابة. وذلك حسب نوع الثايرستور، وعندها يزداد التيار المار بالثايرستور بشكل كبير تحد قيمته بمقاومة خارجية في دارة الثايرستور. وتكون قيمة الجهد الهابط على الثايرستور في هذه الحالة صغيرة بسبب المقاومة السالبة التي تمتاز بها هذه العناصر.
تتم إعادة الثايرستور من حالة الوصل إلى حالة القطع بطرائق عدة:
- إنقاص جهد التغذية الأمامي Uak إلى أن ينخفض التيار الأمامي إلى أقل من قيمة محددة تسمى تيار الإمساك IH (holding current).
- تطبيق جهد تغذية عكسي على الثايرستور.
- تطبيق جهد عكسي على البوابة، أو بطرائق أخرى وذلك حسب نوع الثايرستور.
التاريخ
تطبيقات
دوائر سنوبر
النقل الكهربائي

مقارنة بأجهزة أخرى
أنماط فاشلة
مقداح كربيد السليكون
الأنواع

- الثايرستورات التقليدية غير المتحكم بها.
- الثايرستورات التقليدية المتحكم بها، والتي صارت تُعرف باسم المقومات نصف الناقلة المتحكم بها SCR (semiconductor controlled rectifier).
- ثايرستورات حالة القطع بالبوابة gate turn-off thyristors (GTO). ويبيِّن (الشكل-3) بنية هذه الثايرستورات (أ)، ورمزها (ب).
- ثايرستورات التحكم بالطور phase control thyristors.
- ثايرستورات الشبكة العاكسة inverter-grade thyristors.
- الثايرستورات المفعّلة ضوئياً light-activated thyristors.
- ثايرستورات القطع بالبوابة المساعدة gate-assisted turn-off thyristors.
- المقومات السلكونية غير المتماثلة asymmetrical silicon-controlled rectifier.
- ثايرستورات الوصل المعكوس reverse-conducting thyristors (RCT).
كما توجد ضمن عائلة الثايرستورات عناصر أخرى تمرر التيار بالاتجاهين غير متحكم بها تسمى الثنائية، ومتحكم بها تسمى الثلاثية. تصلح الثايرستورات، بسبب الخواص التي تمتلكها، لتكوين مختلف أنواع القواطع، والتي تستخدم في تطبيقات متنوعة من أهمها استخدام هذه الثايرستورات في عملية التحكم بالاستطاعة.
فباستخدم الثايرستورات يمكن الحصول على مختلف المبدلات التي تعمل مقومات للجهد والتيار المتناوب (AC® DC) وتسمى بالمبدلات الترددية. وتستخدم المبدلات المذكورة في قيادة الأحمال التحريضية، والتحكم بسرعة محركات التيار المتناوب ومحركات التيار المستمر، كما تستخدم في مجالات التحكم الآلي والمراقبة والإنذار، كالتحكم بالحرارة والإضاءة وتشغيل الحواكم المختلفة وتشغيل دارات الإنذار عن الحريق أو السرقة وغيرها.
انظر أيضاً
المصادر
- ^ فاروق دريعي. "الثايرستور". الموسوعة العربية. Retrieved 2014-03-17.
قراءات إضافية
- Wintrich, Arendt; Nicolai, Ulrich; Tursky, Werner; Reimann, Tobias (2011). [PDF-Version Application Manual 2011] (2nd ed.). Nuremberg: Semikron. ISBN 978-3-938843-66-6.
{{cite book}}
: Check|url=
value (help) - Thyristor Theory and Design Considerations; ON Semiconductor; 240 pages; 2006; HBD855/D. (Free PDF download)
- Dr. Ulrich Nicolai, Dr. Tobias Reimann, Prof. Jürgen Petzoldt, Josef Lutz: Application Manual IGBT and MOSFET Power Modules, 1. Edition, ISLE Verlag, 1998, ISBN 3-932633-24-5. (Free PDF download)
- SCR Manual; 6th edition; General Electric Corporation; Prentice-Hall; 1979.
وصلات خارجية
- The Early History of the Silicon Controlled Rectifier — by Frank William Gutzwiller (of G.E.)
- THYRISTORS — from All About Circuits
- Universal thyristor driving circuit
- Thyristor Resources (simpler explanation)
- Thyristors of STMicroelectronics
- Thyristor basics